Error code P0418 - Secondary Air pump
Error code P0418 - Secondary Air pump
Afternoon all,
When I bought my 996T the pre-purchase inspection highlighted the following code in the DME:
P0418 - Factory Fault Code 84 - Secondary Air Injection Pump
Open Circuit, below limit or above limit
After doing multiple searches I came across the following part:
996.605.104.00 - Is this correct for the 996T?
Would I be right in assuming this is the likely point of failure? I can't hear the pump on cold start so it doesnt appear to be working. Are there any fuses or procedures I should check first etc..?
I have noticed the car appears quite grumpy on startup and sometimes feels like it might stall! After a few minutes it settles down and runs fine
Any suggestions would be greatly appreciated!
Cheers,
James
When I bought my 996T the pre-purchase inspection highlighted the following code in the DME:
P0418 - Factory Fault Code 84 - Secondary Air Injection Pump
Open Circuit, below limit or above limit
After doing multiple searches I came across the following part:
996.605.104.00 - Is this correct for the 996T?
Would I be right in assuming this is the likely point of failure? I can't hear the pump on cold start so it doesnt appear to be working. Are there any fuses or procedures I should check first etc..?
I have noticed the car appears quite grumpy on startup and sometimes feels like it might stall! After a few minutes it settles down and runs fine
Any suggestions would be greatly appreciated!
Cheers,
James
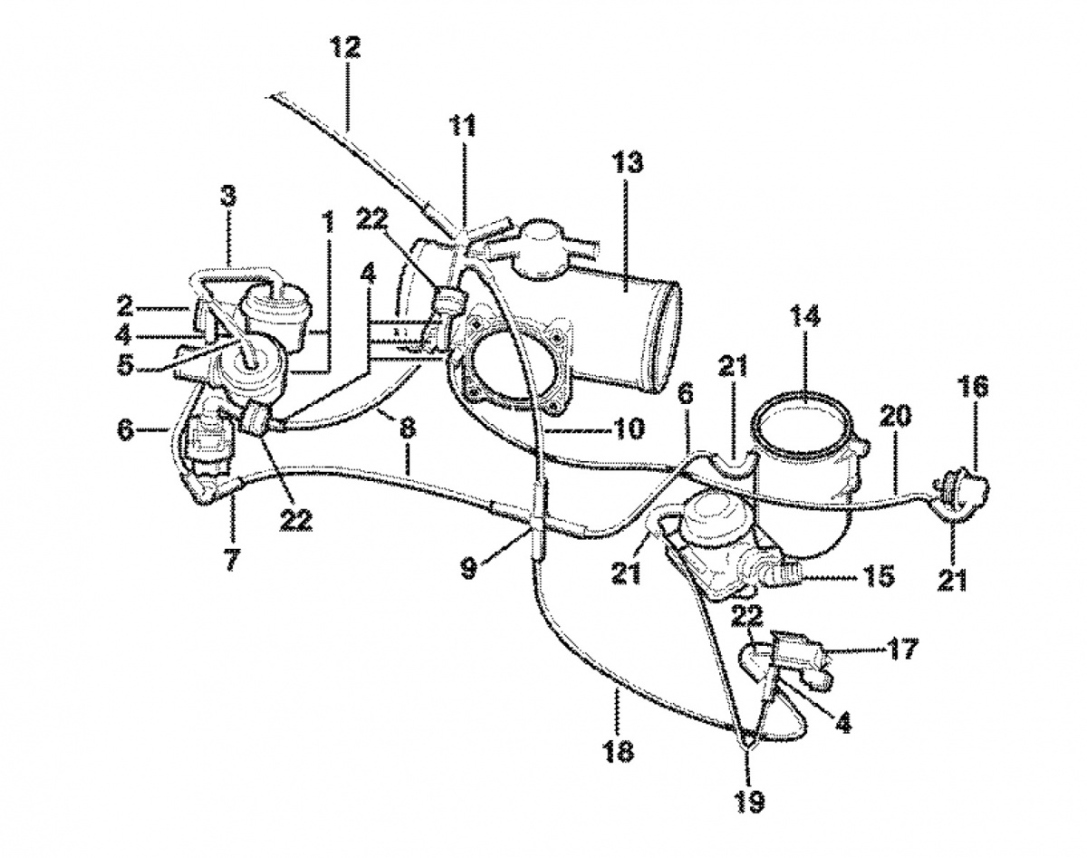
If on cold start you can hear the air pump working for about 5 minutes you should look at a leak or a disconnected sense line. Look especially around item 17 of this sense line drawing.
?????? Can you be more specific about the part that was replaced?
Reporting back with solution - The relay had been removed (for whatever reason?!?!) from underneath subwoofer (next to the DME). New relay ordered/fitted and the car now gargles away on startup and my ECU reads no codes
http://911uk.com/viewtopic.php?t=82092&highlight=
http://911uk.com/viewtopic.php?t=82092&highlight=
Mine just gave me the secondary air pump codes. I will check that before I move on to other solutions. I have a feeling that my diverter valves might be part of my problem, hit a boost spike and made a 'honk' afterwards. Can get it rolling into partial throttle every so often. Read that a few people resolved the issue with new diverters (couldn't hold vacuum)
Thread
Thread Starter
Forum
Replies
Last Post
eclip5e
Automobiles For Sale
6
Jul 29, 2019 11:13 AM
COBB Tuning
997 Turbo / GT2
14
Mar 29, 2016 09:26 PM
COBB Tuning
991 Turbo
9
Sep 9, 2015 09:13 PM
pshep138
Automobiles For Sale
3
Sep 1, 2015 09:45 AM







