Function GT2 Conversion DIY
I think most of it is airflow management and keep the air moving to the right places. You effectively get more downforce (or less lift) by routing the air the way the factory does it on the real GT2, and there may be other cooling benefits that I'm not aware of.
The real benefits of the combo are that you're driving on aero bits that have been tested in Porsches Wind Tunnel and are approved to balance the car. It's a total package that includes the fender liners, as well as the front bumper/air managment and rear wing. To be "fully GT2" you'd want to swap out the suspension uprights as well, since there are geometric changes to the suspension thru those parts...
My suspension is as follows:
Custom Valved PSS9s/ Springs
GT2/3 split control arms front and rear
Inner monoball mounts on the front lower control arms
Mode upper strut mounts (monoballs)
Monoball Toe Links with bump steer spacers
997.2 Trans Mount
Wevo 997Turbo Motor mounts
I have ZERO bottoming on the struts, and members here have both driven and ridden in the car. The chassis is stiff but comfy on relatively smooth roads. rough surfaces obviously cause bounce and sharp edges can be jarring. currently running Victor equipment LeMans wheels on the street and CCW C10s on the track.
Mike
My suspension is as follows:
Custom Valved PSS9s/ Springs
GT2/3 split control arms front and rear
Inner monoball mounts on the front lower control arms
Mode upper strut mounts (monoballs)
Monoball Toe Links with bump steer spacers
997.2 Trans Mount
Wevo 997Turbo Motor mounts
I have ZERO bottoming on the struts, and members here have both driven and ridden in the car. The chassis is stiff but comfy on relatively smooth roads. rough surfaces obviously cause bounce and sharp edges can be jarring. currently running Victor equipment LeMans wheels on the street and CCW C10s on the track.
Mike
I'm pretty jealous Mike. Though I'm not sure i'm ready to abandon my AWD system. The turbo lag scares me with a pure RWD system until i get to know the car better.
How stiff did you go with your PSS9 springs and did you keep the tenders? Am thinking about a similar (potentially PSS10 based) setup.
How stiff did you go with your PSS9 springs and did you keep the tenders? Am thinking about a similar (potentially PSS10 based) setup.
I'm going off memory here, but I "think" they're 600/450 rates...
Overall I'm pretty happy with the setup, but at some point I may splurge and go with JRZs or Motons.
Mike
Overall I'm pretty happy with the setup, but at some point I may splurge and go with JRZs or Motons.
Mike
Below is the list of parts I ended up USING:
996-505-311-30-G2X Bumper Cover
996-505-563-30-01C Air Inlet
996-505-564-30-01C Air Inlet
996-505-561-30-01C Air Inlet
996-575-326-30 Bumper frame (front diffuser)
996-575-325-30 Bumper Air Duct
996-505-741-30-01C Bumper HID
996-505-742-30-01C Bumper HID
996-505-773-32 Spacer Panel (x2)
996-505-531-30 Retaining
996-575-321-30 Air Routing
996-575-322-30 Air Routing
996-504-195-30 Radiator Bracket (Upper)
996-504-679-31 Spacer Sleeve (x2)
996-504-413-30 Radiator Bracket (Lower)
996-575-141-30 Cooling Air Duct
996-504-123-90 Inner fender liner
996-504-124-90 inner Fender Liner
996-106-621-75 Center Radiator Hose (R)
996-106-625-75 Center Radiator Hose (L)
Mike
996-505-311-30-G2X Bumper Cover
996-505-563-30-01C Air Inlet
996-505-564-30-01C Air Inlet
996-505-561-30-01C Air Inlet
996-575-326-30 Bumper frame (front diffuser)
996-575-325-30 Bumper Air Duct
996-505-741-30-01C Bumper HID
996-505-742-30-01C Bumper HID
996-505-773-32 Spacer Panel (x2)
996-505-531-30 Retaining
996-575-321-30 Air Routing
996-575-322-30 Air Routing
996-504-195-30 Radiator Bracket (Upper)
996-504-679-31 Spacer Sleeve (x2)
996-504-413-30 Radiator Bracket (Lower)
996-575-141-30 Cooling Air Duct
996-504-123-90 Inner fender liner
996-504-124-90 inner Fender Liner
996-106-621-75 Center Radiator Hose (R)
996-106-625-75 Center Radiator Hose (L)
Mike
I am looking to get my ducks lined up for this project. I have read through this thread a couple times and just want to confirm that the above parts listed (plus fasteners, etc) is all I will need to plan on purchasing to successfully complete? Just making sure, thanks very much!
Justin
Alright, time for some more verification and double checking.
I have read through the Titan write-up, this write-up, and a few other peoples posts on the subject and at this point I think I have a pretty complete list of the parts I will need to do this conversion to a standard tt front end. I have a few questions on the necessity of a few of the parts mentioned, I'll get to those as I lay them out.
//** Mikelly master "Parts Used" list:
996-505-311-30-G2X Bumper Cover
996-505-563-30-01C Air Inlet
996-505-564-30-01C Air Inlet
996-505-561-30-01C Air Inlet
996-575-326-30 Bumper frame (front diffuser)
996-575-325-30 Bumper Air Duct
996-505-741-30-01C Bumper HID
996-505-742-30-01C Bumper HID
996-505-773-32 Spacer Panel (x2)
996-505-531-30 Retaining
996-575-321-30 Air Routing
996-575-322-30 Air Routing
996-504-195-30 Radiator Bracket (Upper)
996-504-679-31 Spacer Sleeve (x2)
996-504-413-30 Radiator Bracket (Lower)
996-575-141-30 Cooling Air Duct
996-504-123-90 Inner fender liner
996-504-124-90 inner Fender Liner
996-106-621-75 Center Radiator Hose (R)
996-106-625-75 Center Radiator Hose (L)
//** Compiled from Titan List (Fasteners required):
25x Speed Nuts (secures trim) - 999 507 258 02
2x M8x16 x 80mm headbolts
2x Tapping Screw - 900 144 101 02
2x Speed Nut - 999 507 072 02
6x Allen Screw (secures grille) - 900 623 012 07
6x Hexagon Nut (secures grille) - 999 084 120 02
//**Additional Parts listed by Titan:
-I assume the headlight trim pieces below parts were not listed either because they were not needed for the GT2 bumper OR they were re used from the standard tt bumper? Also assume the bumper lip and center top grill were not listed/noted because they were included as part of the bumper package Mike got?
Headlight Trim Bracket (left) - 996 505 539 03
Headlight Trim Bracket (right) - 996 505 540 03
Headlight Trim Gasket (left) - 996 505 741 30
Headlight Trim Gasket (right) - 996 505 742 30
Center Top Grille - 996 575 326 31
Lower Bumper Lip - 996 505 555 30
//**Additional Parts listed by Mikelly:
-From what I have gathered, most people modify the two brackets that are used to properly angle the center radiator. Mike, I know you mention this part of the process added ~6 hours to your install time. Is getting it right a matter of trial and error as you say, or did you find a method that can make that part of the process smoother for those of us who also don't want to spend 6 hours on that one part, but also want to save ~$800?
bracket 996-504-523-30
bracket 996-504-524-30
Mike, you mention the fender liners for the GT2 and the tt are different. As I understand it the normal fender liners we have on the tt are vented which allow additional airflow to come in and help provide cooling for the brakes in our cars. If the fender liners that are included in the main parts list above are used, we will also have to purchase the air guides listed below to once again get the brakes the proper cooling they need. My question on these parts is, can we avoid having to buy the GT2 fender liners and air guides, and just keep using our standard vented ones? As far as you can tell, is there any functional advantage to switching those particular parts; or put it this way, any foreseeable downfalls?
air guide 996-575-352-30
air guide 996-575-351-30
Thanks again!!!
Justin
I have read through the Titan write-up, this write-up, and a few other peoples posts on the subject and at this point I think I have a pretty complete list of the parts I will need to do this conversion to a standard tt front end. I have a few questions on the necessity of a few of the parts mentioned, I'll get to those as I lay them out.
//** Mikelly master "Parts Used" list:
996-505-311-30-G2X Bumper Cover
996-505-563-30-01C Air Inlet
996-505-564-30-01C Air Inlet
996-505-561-30-01C Air Inlet
996-575-326-30 Bumper frame (front diffuser)
996-575-325-30 Bumper Air Duct
996-505-741-30-01C Bumper HID
996-505-742-30-01C Bumper HID
996-505-773-32 Spacer Panel (x2)
996-505-531-30 Retaining
996-575-321-30 Air Routing
996-575-322-30 Air Routing
996-504-195-30 Radiator Bracket (Upper)
996-504-679-31 Spacer Sleeve (x2)
996-504-413-30 Radiator Bracket (Lower)
996-575-141-30 Cooling Air Duct
996-504-123-90 Inner fender liner
996-504-124-90 inner Fender Liner
996-106-621-75 Center Radiator Hose (R)
996-106-625-75 Center Radiator Hose (L)
//** Compiled from Titan List (Fasteners required):
25x Speed Nuts (secures trim) - 999 507 258 02
2x M8x16 x 80mm headbolts
2x Tapping Screw - 900 144 101 02
2x Speed Nut - 999 507 072 02
6x Allen Screw (secures grille) - 900 623 012 07
6x Hexagon Nut (secures grille) - 999 084 120 02
//**Additional Parts listed by Titan:
-I assume the headlight trim pieces below parts were not listed either because they were not needed for the GT2 bumper OR they were re used from the standard tt bumper? Also assume the bumper lip and center top grill were not listed/noted because they were included as part of the bumper package Mike got?
Headlight Trim Bracket (left) - 996 505 539 03
Headlight Trim Bracket (right) - 996 505 540 03
Headlight Trim Gasket (left) - 996 505 741 30
Headlight Trim Gasket (right) - 996 505 742 30
Center Top Grille - 996 575 326 31
Lower Bumper Lip - 996 505 555 30
//**Additional Parts listed by Mikelly:
-From what I have gathered, most people modify the two brackets that are used to properly angle the center radiator. Mike, I know you mention this part of the process added ~6 hours to your install time. Is getting it right a matter of trial and error as you say, or did you find a method that can make that part of the process smoother for those of us who also don't want to spend 6 hours on that one part, but also want to save ~$800?
bracket 996-504-523-30
bracket 996-504-524-30
Mike, you mention the fender liners for the GT2 and the tt are different. As I understand it the normal fender liners we have on the tt are vented which allow additional airflow to come in and help provide cooling for the brakes in our cars. If the fender liners that are included in the main parts list above are used, we will also have to purchase the air guides listed below to once again get the brakes the proper cooling they need. My question on these parts is, can we avoid having to buy the GT2 fender liners and air guides, and just keep using our standard vented ones? As far as you can tell, is there any functional advantage to switching those particular parts; or put it this way, any foreseeable downfalls?
air guide 996-575-352-30
air guide 996-575-351-30
Thanks again!!!
Justin
forgot to also Ask this additional question. I saw the Titan parts list also included brackets for lower radiator left and right, under these two part numbers:
Lower Radiator Bracket (left) 996 106 131 72
Lower Radiator Bracket (right) 996 106 132 70
I am wondering what the difference between their build and Mike's was to allow for their exclusion. I know, I should ask in that thread, but figure I would ask in this one first as I am trying to keep the flow of information in one place.
Justin
Lower Radiator Bracket (left) 996 106 131 72
Lower Radiator Bracket (right) 996 106 132 70
I am wondering what the difference between their build and Mike's was to allow for their exclusion. I know, I should ask in that thread, but figure I would ask in this one first as I am trying to keep the flow of information in one place.
Justin
Kwei, The GT2 fender liners work with the GT2 airguides. It's a part of the total aerodynamic package. You "could" use the 996TT vented liners, but I have no clue the aero impact at 160mph.
Also, I didn't use the lower radiator brackets only because I forgot to order them... I bent mine and had to make them work. If I did it over again, I'd absolutely order them and instal them...
Mike
Also, I didn't use the lower radiator brackets only because I forgot to order them... I bent mine and had to make them work. If I did it over again, I'd absolutely order them and instal them...
Mike
forgot to also Ask this additional question. I saw the Titan parts list also included brackets for lower radiator left and right, under these two part numbers:
Lower Radiator Bracket (left) 996 106 131 72
Lower Radiator Bracket (right) 996 106 132 70
I am wondering what the difference between their build and Mike's was to allow for their exclusion. I know, I should ask in that thread, but figure I would ask in this one first as I am trying to keep the flow of information in one place.
Justin
Lower Radiator Bracket (left) 996 106 131 72
Lower Radiator Bracket (right) 996 106 132 70
I am wondering what the difference between their build and Mike's was to allow for their exclusion. I know, I should ask in that thread, but figure I would ask in this one first as I am trying to keep the flow of information in one place.
Justin
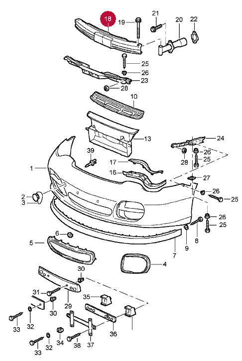
I believe the 2 part numbers in red above refer to the side radiators rather than side brackets. Does anyone have the part numbers for these (middle of ducting in pic below)?
Bumper center radiator grill (part #10):
Which manufacturer(s) offer a grill that fits same as OEM (CF, PU, or FRP)?
Is the grill fixed to the Center Rear Radiator outlet duct (part #13) or the bumper?
Attached an exploded diagram: upper/lower radiator brackets (parts #'s 2&3):
RADIATOR TOP BRACKET 996504 195 30 - $409
RADIATOR LOWER BRACKET 996 504 413 30 - $255
Anyone tried modifying the TT ones? The OEM gt2 ones are pricey, 2-3xs the price of TT counterparts.
Thanks in advance!
I actually removed those pieces (#18 in red) from my bumper support because of interference. In the process of helping sell the kit I've been holding onto for about 2 years now, so I'm going back and re-reading what I did... Did I mention I miss my 996TT more than any other car I have ever owned???
Mike
Mike





